公司简介

-

公司简介

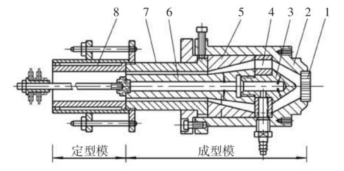
2014新款彩砖制砖机 技术革新与应用前景

经营范围

SCOPE

从事电子科技领域内的技术开发、技术咨询、技术服务、技术转让,模具、机械设备(除特种设备)制造、加工(以上限分支机构经营)、设计、批发、零售,汽车零部件、五金冲件、仪器仪表、塑料制品加工(限分支机构经营)、批发、零售,金属材料、装饰材料、金属制品、钢材、机电设备、电子产品、五金配件批发、零售,机电设备安装、维修,电子商务(不得从事金融业务)。 【依法须经批准的项目,经相关部门批准后方可开展经营活动】

企业信息

INFORMATION

企业信息

法人代表:涂多跃

注册地址:上海市奉贤区庄行镇大叶公路2189号第4幢2036室

所属行业:研究和试验发展

更多行业:工程和技术研究和试验发展,研究和试验发展,科学研究和技术服务业

联系我们

电话:1364115**

地址:上海市奉贤区庄行镇大叶公路2189号第4幢2036室

产品列表

PRODUCT

友情链接: 宏村住宿 针纺织品及原料销售 汽车销售 新材料技术推广服务 网络技术服务 数字文化创意内容应用服务 互联网服务 茶具销售 商务咨询 房地产经纪 服装 白塞氏病 宣传 公路 环保节能技术开发 门窗 计算机系统服务 福建天天一卡通 摄影服务 户外用品销售 数据处理和存储服务 保健器械 技术转让 杭州旅游 通讯设备 网络与信息安全软件开发 技术交流 网络开发 建筑安装工程 广告设计 网络技术服务 叉车 技术咨询 人力资源服务 广告设计 油画 网站建设 自然科学研究 互联网信息服务 农业病虫害防治活动 针纺织品销售 计算机软硬件 出版物批发 农产品零售 信息技术咨询 通讯设备 物联网技术服务 数据处理和存储支持服务 教育软件科技领域内的技术开发 家用电器 丝网制品及进出口业务 软件开发 信息技术咨询服务 信息技术咨询服务 技术开发 博宇佳业 信息技术咨询 纸箱定做 经营电子商务 网络技术服务 软件开发 网络工程 上海网络技术转让 信息技术咨询服务 气动执行器 服饰 实验小学 环保科技 钢板 常州市双宸装饰材料 上海虞其网络科技有限公司 酒泉鸿途汽车租赁有限公司 北京米哈友网络科技有限公司 长治市汉本有道商务服务有限公司 荆州市辰舫信息科技有限公司 昆明笑笑叉车租赁有限责任公司 郑州众誉科技有限公司 艾瑞尼(山东)环保科技有限公司 北京恳尼蒂商贸有限公司 上海赏心教育科技有限公司 上海帛锦汐科技有限公司 温州佳雅安智能科技有限公司 杭州远创新智信息技术有限公司 沈阳朋轩教育科技有限公司 江门市联创发展有限公司 武汉冻品邦信息科技有限公司 四川智慧极点科技有限公司 昆明玲仲商贸有限公司 上海宣硕淇商贸有限公司 贵州火焰山电器股份有限公司 文登区云商珠宝店 上海芸谭科技有限公司 上海咪咔粒科技有限公司 龙港市坷迈网络技术工作室 苏州雪松湾教育科技有限公司 深圳市近安网络安全服务有限公司 北京嘉园物业管理有限公司 北京壹企行商贸有限公司 52上网助手 北海广林广告装饰有限公司 北京万亿门传媒有限公司 天气预报 上海绵存科技有限公司